Search for Crane Part number
(click on image to open PDF document)
Figures in which the part appears:
Also known as:
00046712, 0046712, 046712, 46712, 000046712, 0000046712
00046712, 0046712, 046712, 46712, 000046712, 0000046712
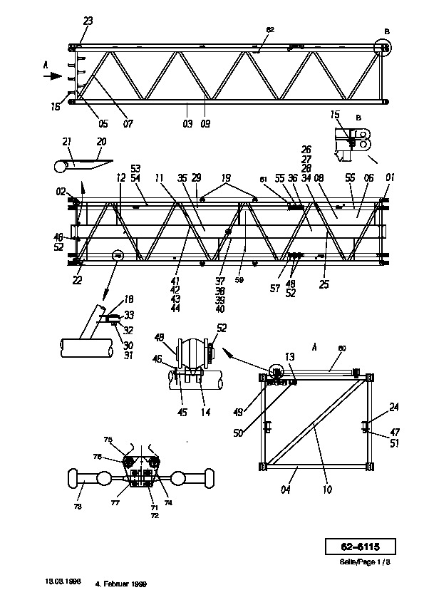
Parts for Demag CC 2800, Figure 62-6115:
Part Number 00046712: LOOM
Part Number 00046712: LOOM
* Selected parts are automatically added to your RFQ list *
Your request list:
| Pieces | Part nr. | Description | Brand | |
|---|---|---|---|---|
| - + | 3322011 | HOSE | Grove | ![]() |
| - + | 50403098 | NUT | Demag | ![]() |
| - + | 55159640 | NUT | Demag | ![]() |
| - + | 50985998 | NUT | Demag | ![]() |
| - + | 25647340 | FLEX. PIPE, O 75MM - STATE LENGTH REQUIRED | Demag | ![]() |
| - + | 55160240 | SLEEVE | Demag | ![]() |
| - + | 97806473 | MOTOR WITH REFLECTOR | Demag | ![]() |
| - + | 97806373 | HOUSING BASE | Demag | ![]() |
| - + | 00046712 | LOOM | Demag | ![]() |


